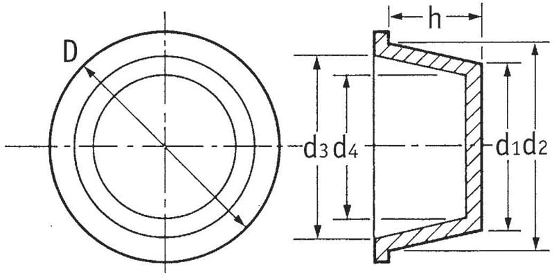
- Kapak veya tapa olarak kullanım
- Kolay montaj ve sökme
- 140'tan fazla ebat
- Depolama ve taşıma esnasında hasar, kir, nem ve korozyona karşı mükemmel koruma sağlar
ÜRÜN TANITIM VİDEOSU




Flexicap'ler için irtibata geçin.
Flexicap ürün fotoğrafı.

Bu ürüne ilk yorumu siz yapın!